
產品類別:皮帶輸送機系列
產品簡介:大傾角皮帶輸送機適用于大傾角或垂直輸送堆積比重為0.5-2.5t/m3的各種散狀物料,采用的是具有波狀擋邊和橫隔板的輸送帶,可防止物料散落。
角度:30°-90°
輸送量:6000立方/時
提升高度:500米
全國統一銷售熱線:0373-268 2333
大傾角皮帶輸送機輸送煤炭視頻
DJ型大傾角皮帶輸送機其結構是在平形橡膠運輸帶兩側有自由伸縮的橡膠波形立式裙邊;,在裙邊之間又粘有一定強度和彈性的橫隔板組成匣形斗,使物料在斗 中進行連續輸送。擋邊帶式輸送機可廣泛用于煤炭、糧食、建材、化工、水電和冶金等部門,在環境溫度為-19℃~+40℃范圍內,輸送堆積比重為 0.5-2.5t/m3的各種散狀物料。對于輸送有特殊要求的物料,如高溫、具有酸、堿性、油類物質或有機溶劑等成分的物料,需采用特殊的擋邊輸送帶。您可以根據您的產量的大小選著合適的機型。




1.大傾角皮帶輸送機輸送機為一般用途的散狀物料連續輸送設備,采用的是具有波狀擋邊和橫隔板的輸送帶。因此,特別適用于大傾角輸送;
2.該機可用于煤炭、化工、建材、冶金、電力、輕工、糧食、港口、船舶等行業,在工作環境濕度為-15℃--+40℃的范圍內輸送堆積比重為0.5-2.5t/m3的各種散狀物料;
3.對于輸送有特殊要求的物料,如:高溫、具有酸、堿、油類物質或有機溶劑等成份的物料,需采用特殊的輸送帶;
4.擋邊帶式輸送機輸送傾角0°-90°范圍內;

1.從水平到垂直(或垂直)可以平滑過渡;
2.傾斜輸送角度(0-90度);
3.大傾角皮帶輸送機適用于輸送易分散的粉末,顆粒狀和小型,糊狀和液體物料;
4.輸送量大,可達6000立方/時,垂直提升高度可達500米;
5.能耗低,結構簡單,膠帶強度高,使用壽命長。

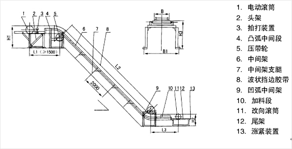
DJ型大傾角皮帶輸送機主要由波狀擋邊輸送帶、驅動裝置、傳動滾筒、改向滾筒、壓帶輪、托輥、托帶輥、立輥、拍打輪清料裝置、拉緊裝置等部分組成。
1.壓帶輪: 用于改變輸送帶的運行方向,壓帶輪用于輸送帶上表面(承載面);
2.托輥: 托輥用于支承輸送帶和帶上的物料、使其穩定運行。本系列有上平行托輥、下平型托輥兩種型式;
3.托帶輥: 托帶輥用于在凸弧段機架上支承輸送帶下分支,其支承于擋邊輸送帶兩側的空邊上。若干組托帶輥形成一個圓弧段用于使輸送帶改向。托帶輥采用懸臂支承;
4.立輥:立輥用于限制輸送帶跑偏,并安裝在上、下過度段機架上。每個過濾段機架上設有4個,上、下分各兩個;
5.拍打輪清料裝置:用于拍打輸送帶背面,震落粘在輸送帶上的物料;
6.拉緊裝置 它的作用有:1.使輸送帶具有足夠的張力,保證輸送帶和傳動滾筒間不打滑。2.限制輸送帶在各支承間的垂度,使輸送機正常運轉。本系列采用螺旋拉緊裝置;
7.機架、頭部漏斗、頭部護罩、導料槽、中間架、中間架支腿等:在輸送機中分別起支承、防塵和導料作用。本系列中間架支腿有低式、中式和高式三種。下水平段和傾斜只配用低式中間架支腿,而上下水平段根據不同的頭架(低式、中式和高式頭架)分別配用不同的中間架支腿(低式、中式和高式中間架支腿)。
注;皮帶可分為(普通型、耐酸堿型、耐油型)橡膠。
大傾角皮帶輸送機工作原理就是在平面的輸送上面分成一格一格的,在皮帶中間焊有一條條的擋板,在皮帶的兩邊焊的波狀擋邊形成一體,用來輸送散料;擋邊皮帶輸送機用于斜坡輸送,可以把低處產品提升到一定的高度,用于物料提升,在提升的過程中,可以將散料放在一格一格里面,在傾斜的角度中,不會滑;占地面積小,角度不受限制,角度可以做到90度,還有就是輸送速度快,成本低,可以輸送到20米以上的高度,還可以和其它水平輸送機對接,達到長距離的輸送。

| 帶寬B(mm) | 300 | 400 | 500 | 650 | 800 | |||||||||
| 擋邊高(mm) | 40 | 60 | 60 | 80 | 80 | 120 | 120 | 160 | 120 | 160 | 200 | 240 | ||
| 部分輸送傾角輸送量Q3/h | 30° | 15 | 14 | 20 | 34 | 46 | 71 | 104 | 120 | 128 | 157 | 195 | 235 | |
| 45° | 11 | 10 | 14 | 26 | 35 | 57 | 83 | 97 | 102 | 127 | 157 | 195 | ||
| 60° | 8 | 7 | 10 | 18 | 25 | 40 | 58 | 69 | 72 | 90 | 112 | 142 | ||
| 90° | 4 | 4 | 5 | 10 | 13 | 21 | 31 | 37 | 38 | 48 | 60 | 76 | ||
| 外型尺寸 | 頭輪中心高H2/h(MM) | 350-100 | 1100-2000 | 1300-2000 | 1300-2000 | |||||||||
| 尾輪中心高H2/h(MM) | 335 | 330-490 | 600 | 600 | 600-800 | |||||||||
| 中間段帶面高H2/h(MM) | 450 | 500-700 | 760-800 | 800-850 | 800-1115 | |||||||||
| 中間段地腳寬B2/h(MM) | 480 | 580 | 870 | 1020 | 1220 | |||||||||
| 帶寬B(mm) | 1000 | 1200 | 1400 | |||||||||||
| 擋邊高(mm) | 120 | 160 | 200 | 240 | 160 | 200 | 240 | 300 | 160 | 200 | 240 | 300 | 400 | |
| 部分輸送傾角輸送量Q3/h | 30° | 172 | 216 | 267 | 327 | 275 | 331 | 419 | 466 | 319 | 395 | 500 | 564 | 794 |
| 45° | 137 | 175 | 216 | 271 | 222 | 267 | 347 | 384 | 258 | 318 | 414 | 465 | 680 | |
| 60° | 96 | 124 | 153 | 197 | 158 | 190 | 253 | 178 | 184 | 226 | 302 | 337 | 524 | |
| 90° | 51 | 66 | 83 | 106 | 85 | 102 | 136 | 149 | 98 | 121 | 162 | 180 | 281 | |
| 外型尺寸 | 頭輪中心高H2/h(MM) | 1400-2000 | 1600-2000 | |||||||||||
| 尾輪中心高H2/h(MM) | 600-800 | 800-1000 | 800-1200 | |||||||||||
| 中間段帶面高H2/h(MM) | 800-1200 | 1050-1500 | 1050-1700 | |||||||||||
| 中間段地腳寬B2/h(MM) | 1440 | 1690 | 1890 | |||||||||||
大傾角皮帶輸送機采用"Z"形布置形式,該形式能夠有效保障其良好的受料和卸料條件。所謂"Z"字形布置即為大傾角皮帶輸送機設有上水平段、下水平段和傾斜段,并在下水平段受料,在上水平段卸料。上水平段與傾斜段之間采用凸弧形段機架連接,下水平段與傾斜段之間采用凹弧段機架相連以實現輸送帶的圓滑過渡。
1、上水平段:為了適應不同的卸料高度的要求,頭架分為低頭架(頭架高度H0=1000mm),中式頭架(頭架高度H0=1100~1500mm)和高式頭架(頭架高度H0=1600~2000mm)。并與之相應,在上水平段分別配用低式凸弧段機架和低式中機架支腿(配用頭架高度H0=1000mm),中式凸弧段機架和中式中間架支腿(配用頭架高度H0=1100~1500mm), 高式凸弧段機架和高式中間架支腿(配用頭架高度H0=1600~2000mm)。
2、下水平段:下水平段采用低式中間架支腿。
3、傾斜段:無論上水平段采用的是低式、中式、或是高式中間架支腿,傾斜段均采用低式中間架支腿。當輸送機傾角β≥45°時,推薦采用Ⅱ型低式中間架支腿。

